Skip to main content

Acoplamiento estanco para la transmisión de rotación.

Ingeniería y Arquitectura

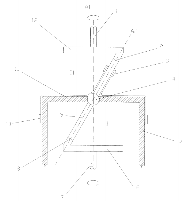
La presente invención se refiere a un mecanismo destinado a transmitir un movimiento de rotación a través de una pared hermética sin perder la estanqueidad del sistema. Se describe un mecanismo que contiene un eje inclinado con respecto al eje de rotación, sobre el cual rota generando un cono cuyo vértice se encuentra en la intersección entre el eje inclinado y el eje de rotación. Dicho eje transmite la rotación de sus extremos a dos elementos solidarios al eje motriz  y al eje conducido respectivamente mediante uniones deslizantes (tales como cojinetes de fricción o algún tipo de rodamiento). Un elemento elástico (tal como una membrana elástica o un fuelle) cubre parte del eje y parte de la pared en la que se encuentra el vértice del cono. De esta forma se constituye un acoplamiento que permite transmitir rotación y par de fuerzas sin que exista rotación relativa entre eje oblicuo y el elemento elástico, por lo que se puede garantizar la estanqueidad mediante una unión lo suficientemente firme.

Inventores de la Universidad de La Laguna

  • Información de la patente
  • Número de patente: P200602383
  • Fecha prioridad: 28/08/2006
  • Estado: Sin licenciar
  • Documento original